Overheating is a major challenge for video. New patent hints that Nikon could be working on a fan-cooled camera
A new Nikon patent has revealed a fan-based cooling unit design, most likely for a high-end mirrorless rig geared towards cinematography
The best camera deals, reviews, product advice, and unmissable photography news, direct to your inbox!
You are now subscribed
Your newsletter sign-up was successful
A new Nikon patent has emerged that hints at a design for a fan-based cooling system for interchangeable-lens cameras. This would be the first time that Nikon develops an active cooling system, and the likelihood is that it would feature in high-end mirrorless shooters geared towards professional video making.
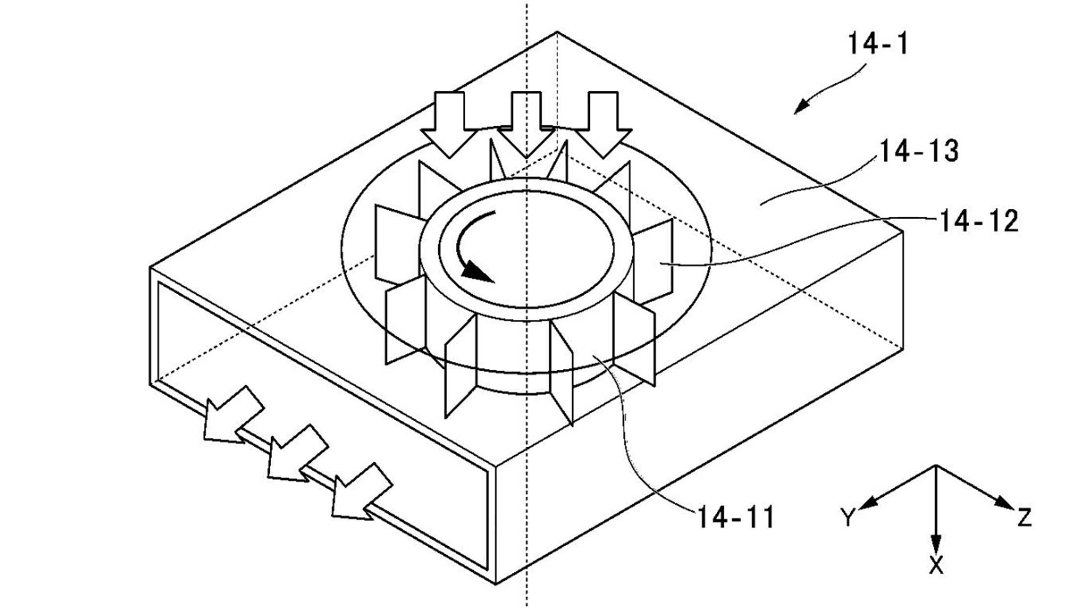
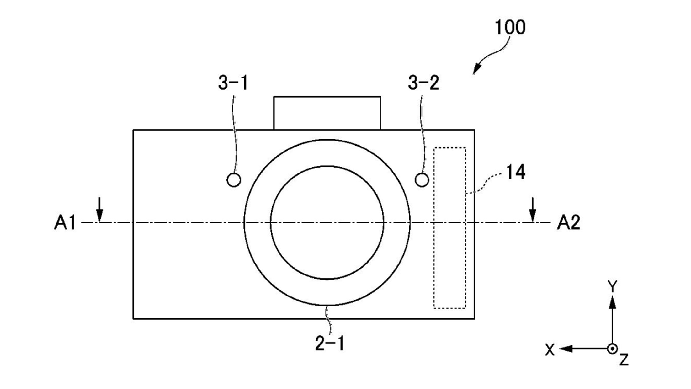
Published on March 25 on the Japan Patent Office platform, patent P2026-53524A details an interchangeable-lens camera featuring a fan-based heat processing system that moves heat from the processing unit to the upper front body of the camera.
An active cooling system like this plays an important role in ensuring cameras with high-end video specs, such as 4K/8K recording and AI-based image processing, can record for extended periods without overheating. Designing a camera that disperses heat tends to be the most challenging on cameras with high-spec video, like that of the Z9, as well as on smaller bodies where there's less room for heat to disperse.
Article continues belowNikon already has the flagship Z9 that boasts extensive 8K recording abilities, including 8K UHD and DCI at 60fps, and 8K RAW, with a maximum recording time of 225 minutes.
While respectable, this maximum recording time inevitably reduces at higher frame rates and resolutions, but a Nikon Z9-esque camera with an active cooling unit could prolong the maximum recording time, meaning smoother videoing.
It could be that the active cooling design revealed in patent P2026-53524A will be featured in the rumored Nikon Z9 II. After all, the next generation of Nikon’s flagship camera is touted to have cinema specs, including 12-bit R3D NE RAW (8.3K / 60p) open gate recording, which would certainly require excellent heat management.
Or, smaller cameras tend to struggle more with heat, so perhaps the man is intended for something smaller than a Z9 successor. It could be that Nikon is cooking up a cinema-focussed camera to outdo Sony’s FX and Lumix’s S5 lines, which include models featuring active cooling, such as the Sony FX 3 and Lumix S5II.
The best camera deals, reviews, product advice, and unmissable photography news, direct to your inbox!
Nikon released the ZR, a fanless 6K competitor to these models in 2025. Now that Nikon owns the cinema brand RED, I wouldn't be surprised to see more video-oriented Nikons in the future – and if the patent is any indication, they could feature an active cooling system like that seen in the new Nikon patent.
For now, though, we are left to speculate as Nikon has made no official announcement of any new fan-cooled cameras. Not every patent makes it into an actual product, but a cooling system could be a key feature for future video-focused cameras.
You might also like…
Discover our take on the best cameras for video and why the Nikon Z8 was crowned the best Nikon camera of all time after an extensive poll.

I’m a writer, journalist and photographer who joined Digital Camera World in 2026. I started out in editorial in 2021 and my words have spanned sustainability, careers advice, travel and tourism, and photography – the latter two being my passions.
I first picked up a camera in my early twenties having had an interest in photography from a young age. Since then, I’ve worked on a freelance basis, mostly internationally in the travel and tourism sector. You’ll usually find me out on a hike shooting landscapes and adventure shots in my free time.
You must confirm your public display name before commenting
Please logout and then login again, you will then be prompted to enter your display name.
