WTF are catadioptric lenses? Canon has filed a patent for a weird lens design to make more compact, bright aperture zooms
Canon has patented a bunch of lenses with mirrors for full-frame cameras, and I’ve made some educated guesses as to why
The best camera deals, reviews, product advice, and unmissable photography news, direct to your inbox!
You are now subscribed
Your newsletter sign-up was successful
A recent patent has shown that the geniuses at Canon are seemingly cooking up new catadioptric lenses for full-frame models. It’s headache-inducing stuff, albeit interesting, because this is an old-school optical system making a resurgence.
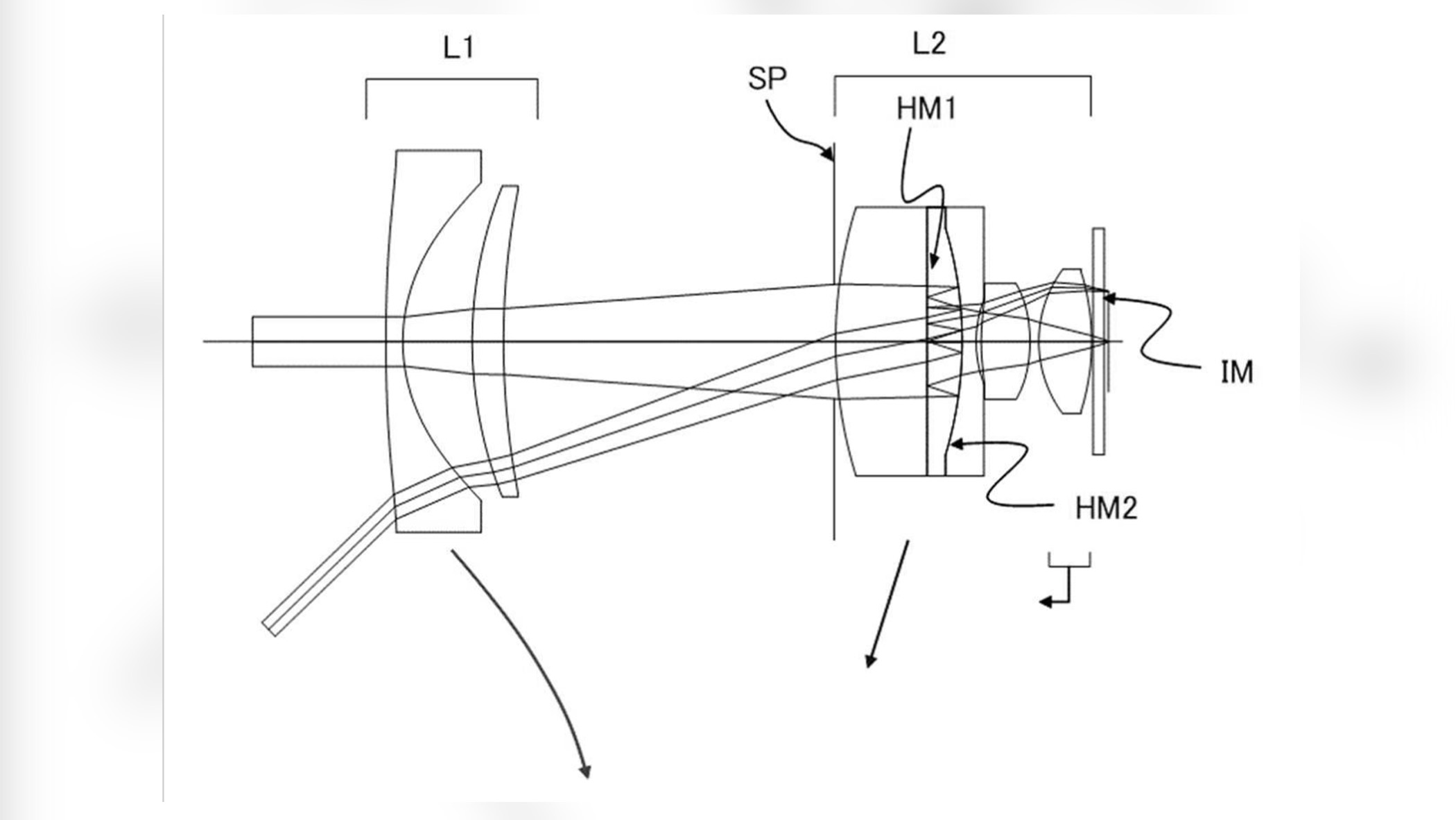
Patent 2026-033938 was published by the Japan Patent Office and contains a bunch of full-frame zoom lenses, among them a 28-45mm f/1.2, 28-55mm f/1.4, and a 35-70mm f/1.4, that have a catadioptric design.
Also called mirror lenses, these optics use both refractive glass and reflective surfaces to form the image, unlike most modern lenses, which just use refractive elements.
Article continues belowThe mirrors inside a catadioptric lens fold the light as opposed to it traveling straight through the barrel, meaning it takes a much shorter path to the sensor. This optical design is typically used in long, fixed-length telephoto prime lenses, enabling them to be much shorter and compact. In fact, Canon has previously patented a 400mm f/3.6 and 800mm f/5 catadioptric lens.
However, the focal lengths seen in the more recent Canon patent are much smaller than the telephotos in the previous patent. The apertures, however, are unusually bright for a full-frame zoom, so perhaps Canon is trying to cram a bright zoom into a small design. Or, it could be that Canon is simply looking into lenses with ‘everyday’ focal lengths and extremely fast apertures with improved dynamic range.
Catadioptric lenses typically aren’t made for interchangeable-lens cameras because the mirrors can create an unwanted ‘donut’ bokeh effect, the fixed aperture is less practical, and image sharpness is generally lower.
As Canon’s RF lenses are designed for high-end image quality and versatility, it doesn't seem likely that EOS bodies will get mirror lenses at some point in the future, but it’s not impossible.
The best camera deals, reviews, product advice, and unmissable photography news, direct to your inbox!
It could be that Canon has, or is at least in the process of, figuring out how to overcome the drawbacks of mirror lens image quality with a view to producing them for newer EOS models such as the EOS R5 Mark II, EOS R6 Mark III, and EOS R1.
It could also be that Canon is conjuring up a new full-frame compact camera with a fixed mirror lens. On one hand, this seems likely as it answers the image-quality questions, but on the other, unlikely as the Canon Powershot has been one of the most successful compact camera series of all time.
The patent also lists a 15-35mm f/1.4 mirror lens for APS-C a 14-30mm f/1.2 for Super-35, and a 4.2-6.5mm f/1.2 for Super 8 or 1/2.5″, but I’m not even going to get into speculating what camera these could be for, or we’ll be here all day.
Needless to say, these are just my speculations, and right now we have nothing concrete to go on. Canon has simply applied for these mirror lens patents, so hopefully, more clues will surface soon.
Patents don't always make it to the shelves – and Canon tends to file more patents every year than many other brands. In fact, Canon has led the photo industry in the number of patents for 42 years in a row, including 2,623 US patents in 2025 alone.
You might also like…
Discover our expert take on the best Canon RF lenses and the best Canon lenses for DSLR models.

I’m a writer, journalist and photographer who joined Digital Camera World in 2026. I started out in editorial in 2021 and my words have spanned sustainability, careers advice, travel and tourism, and photography – the latter two being my passions.
I first picked up a camera in my early twenties having had an interest in photography from a young age. Since then, I’ve worked on a freelance basis, mostly internationally in the travel and tourism sector. You’ll usually find me out on a hike shooting landscapes and adventure shots in my free time.
You must confirm your public display name before commenting
Please logout and then login again, you will then be prompted to enter your display name.
