Nikon patents two f/1.2 zoom lenses!!!
Nikon has designed two insanely f/1.2 zoom lenses – a 35-50mm and a 50-70mm. PLEASE make this happen for real!
The best camera deals, reviews, product advice, and unmissable photography news, direct to your inbox!
You are now subscribed
Your newsletter sign-up was successful
Camera companies are fond of patenting new technologies all the time – some happen, some don’t. All the same, looking at what’s being patented can be a good way of getting an idea of what the future of imaging tech might look like, and this latest patent from Nikon is very exciting indeed.
If they come to fruition, these could be two of the best Nikon Z lenses we've ever seen: the manufacturer has just taken out a patent for two f/1.2 zoom optics! And while it’s only at the theoretical stage, as spotted by the good people at asobinet.com (as spotted by Mirrorless Rumors), they could represent a real feather in the cap for the mirrorless Z system.
We’ve only seen prime lenses with apertures as wide as f/1.2 – in the Nikon stable, it’s just the Nikkor Z 50mm f/1.2 S – and pairing a broad zoom lens with such a wide aperture would give photographers and videographers real flexibility to shoot with razor-thin depth of field, and in super low light.
Article continues belowThe world of professional mirrorless is hugely competitive right now, with Nikon Z, Canon EOS R, Sony E and Panasonic Lumix S all circling each other. Each manufacturer is looking for an edge, and a couple of f/1.2 zooms could be exactly what Nikon needs – particularly following its eye-opening financial report.
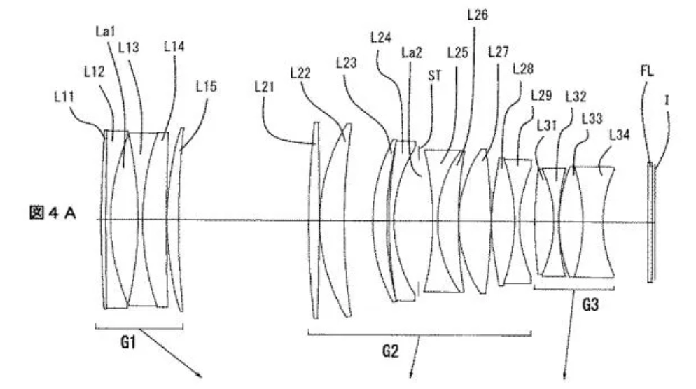
So how much do we know about the lenses? According to the patents, the lenses will come in two focal ranges – a 35-50mm f/1.2 and a 50-70mm f/1.2. The patent documents also list both optics as having physical chassis lengths of about 169-210mm, so in size terms they’d likely resemble telephoto zooms.
This makes sense; they’d be fairly weighty, too, in order to house all the elements necessary to make such a design work. The lenses are listed as having a back focus distance of 17.77-25.82mm (the 35-50mm lens) and 18.93-26.72mm (the 50-70mm).
As we mentioned earlier, this is all theoretical. Camera companies take out patents all the time, and many of the concepts never become real products. Nikon may have been just doing this to show off the theoretical potential of the Z series and what can be done with the sophisticated Z lens mount, in which there is a relatively short distance between lens and sensor.
The best camera deals, reviews, product advice, and unmissable photography news, direct to your inbox!
We’ll just have to start lobbying Nikon to make sure that these lenses become reality!
Read more:
Fastest lenses on the market
Best Nikon cameras
Best Nikon lenses
Best Black Friday camera deals
Best Cyber Monday camera deals
Jon spent years at IPC Media writing features, news, reviews and other photography content for publications such as Amateur Photographer and What Digital Camera in both print and digital form. With his additional experience for outlets like Photomonitor, this makes Jon one of our go-to specialists when it comes to all aspects of photography, from cameras and action cameras to lenses and memory cards, flash diffusers and triggers, batteries and memory cards, selfie sticks and gimbals, and much more besides.
An NCTJ-qualified journalist, he has also contributed to Shortlist, The Skinny, ThreeWeeks Edinburgh, The Guardian, Trusted Reviews, CreativeBLOQ, and probably quite a few others I’ve forgotten.

