Canon VR camera? A full-frame mirrorless VR camera is being designed
A design has been leaked for a full-frame mirrorless camera with "dual view anamorphic optics for VR"
The best camera deals, reviews, product advice, and unmissable photography news, direct to your inbox!
You are now subscribed
Your newsletter sign-up was successful
Is a Canon EOS R VR camera on the way? A design has been unearthed for what seems to be just such a thing: a full-frame mirrorless camera with "dual view anamorphic optics for VR" (virtual reality).
With the manufacturer significantly broadening its range of full-frame mirrorless cameras – with the Canon EOS R being joined by the lightweight Canon EOS RP, the astrophotography Canon EOS Ra, the 8K Canon EOS R5 and plenty of others being rumored – the idea of a Canon EOS R VR (Canon EOS vR?) actually makes some kind of sense.
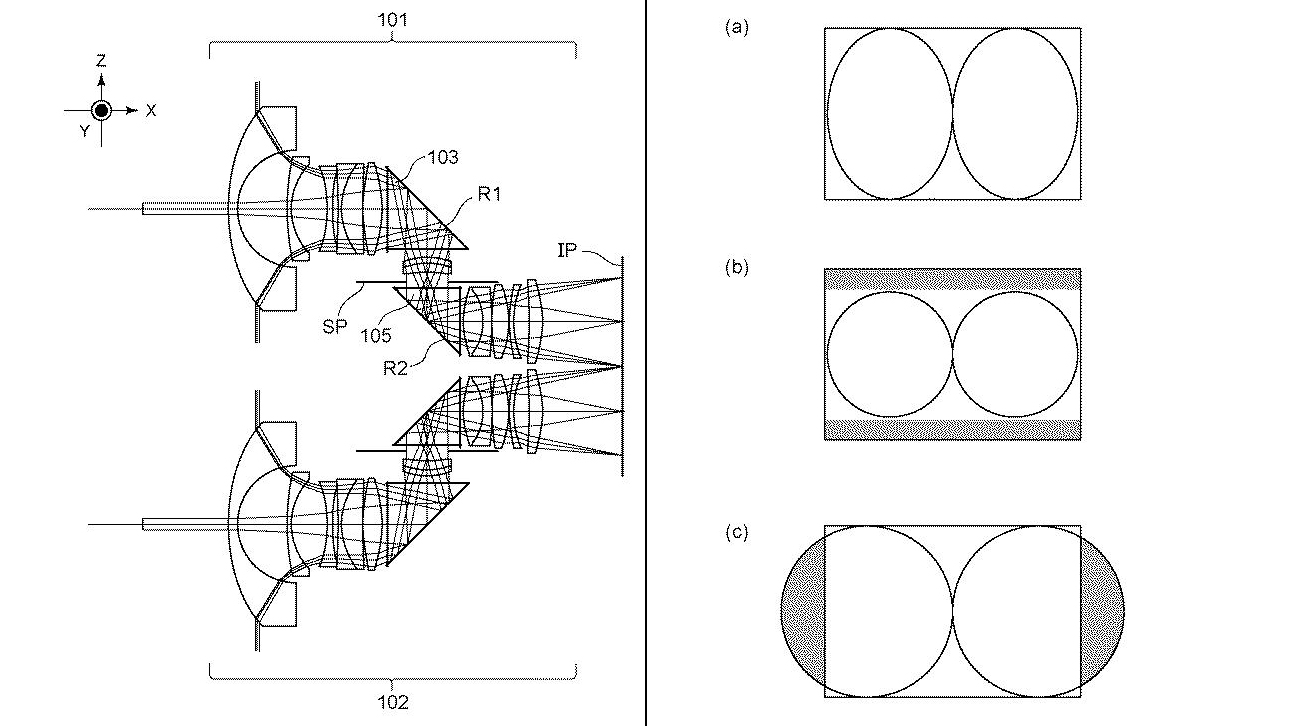
The design was revealed by online outlet Hi Lows Note (by way of Canon Watch), in the form of Japanese patent P2020-42197A.
Article continues below"Canon filed a patent of dual view anamorphic optic formulas for 35mm full-frame mirrorless cameras to record an image for VR," wrote the Japanese outlet, sharing images of the optical arrangement and image circles (below).
Of course, it's that key line – "35mm full-frame mirrorless cameras" – that indicates we're specifically talking about an EOS R camera here, since that is the only full-frame mirrorless system made by Canon (in other words, the patent doesn't describe the APS-C format of Canon's EOS M cameras).
What are the potential applications of such a camera? We've already seen plenty of 360 cameras that shoot VR using dual lenses, including the Insta360 Evo and Vuze XR. Then there are high end professional systems like the Matterport 3D VR, which provides virtual walkthroughs of buildings (like Google Maps for the home).
Quite how Canon envisions leveraging the technology is not yet known, but the manufacturer is definitely on a technology kick right now. On the back of the Canon EOS-1D X Mark III, which may be the most advanced camera we've ever seen, and the rule-redefining EOS R5, we can't wait to see what the company does with this fascinating tech.
The best camera deals, reviews, product advice, and unmissable photography news, direct to your inbox!
Read more:
The best 360 cameras: shoot panoramas, 360 video, 3D VR and more
Best VR headset
The Insta360 Titan promises VR video you won’t believe
The Matterport 3D VR system is like Google Street View for your house

James has 25 years experience as a journalist, serving as the head of Digital Camera World for 7 of them. He started working in the photography industry in 2014, product testing and shooting ad campaigns for Olympus, as well as clients like Aston Martin Racing, Elinchrom and L'Oréal. An Olympus / OM System, Canon and Hasselblad shooter, he has a wealth of knowledge on cameras of all makes – and he loves instant cameras, too.
