Canon patents a better battery indicator (trust us, it IS worth knowing about!)
Canon has designed a camera battery indicator that also shows how much juice is in your external power bank
The best camera deals, reviews, product advice, and unmissable photography news, direct to your inbox!
You are now subscribed
Your newsletter sign-up was successful
Canon is well known for filing a lot of patents for new camera tech. An interesting one that caught our eye today is for something that sounds unassuming – a better camera battery indicator.
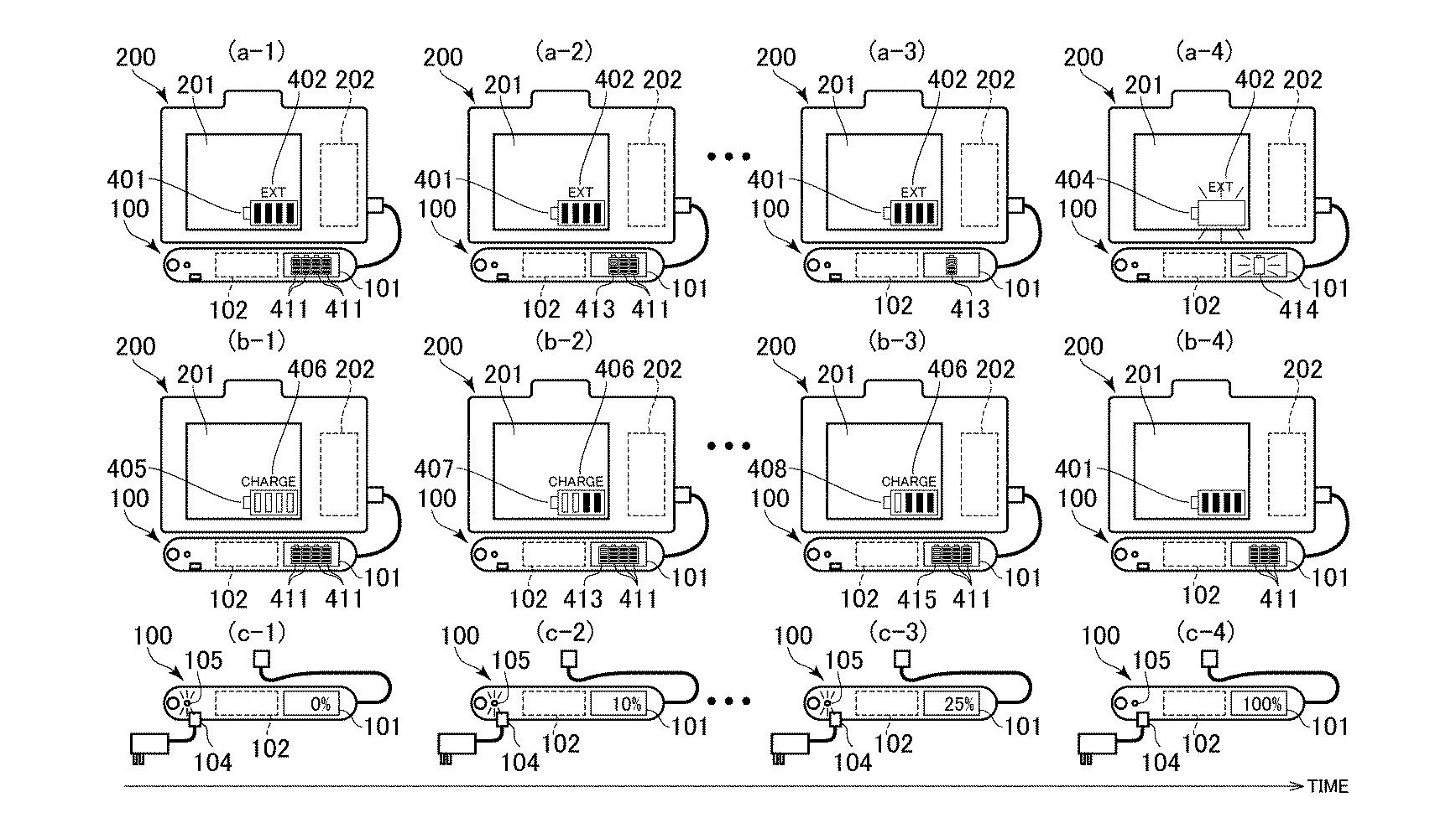
Once you dig in, though, it’s actually quite cool. Essentially, the patent application is for a battery indicator that expands when your camera is connected to an external battery like a USB power bank – and tells you how much power is in both devices.
This enables you to get an instant readout on the state of your battery situation when you’re out in the field – both how much juice is in the camera, and how much is in the camera. The patent is a little hard to read even when run through a translator, but as the folks at Canon News have noted, some of the diagrams show up to four battery indicators on the screen.
Article continues belowThis probably reflects the fact that some of the best power banks can hold a significant amount of charge – quite a bit more than a full camera battery’s worth.
While many patents are filed that don’t ever see the light of day as consumer technology, this is another encouraging sign that Canon is continuing to innovate when it comes to its camera division.
The firm has been one of the most innovative companies in the world, in terms of patents filed, for a good few years now. In 2020 alone, the US patent office granted Canon a whopping 3,226 patents. Looking at these patents can give a real hint as to what the future could hold for the world of cameras – we’ve seen things like a touchpad shutter button, or more recently, a clip-on telephoto lens for a smartphone.
It’s great seeing Canon continue to innovate like this – long may it continue!
The best camera deals, reviews, product advice, and unmissable photography news, direct to your inbox!
Read more:
Best camera batteries
Best Canon cameras
Best Canon lenses
Best Canon RF lenses
Jon spent years at IPC Media writing features, news, reviews and other photography content for publications such as Amateur Photographer and What Digital Camera in both print and digital form. With his additional experience for outlets like Photomonitor, this makes Jon one of our go-to specialists when it comes to all aspects of photography, from cameras and action cameras to lenses and memory cards, flash diffusers and triggers, batteries and memory cards, selfie sticks and gimbals, and much more besides.
An NCTJ-qualified journalist, he has also contributed to Shortlist, The Skinny, ThreeWeeks Edinburgh, The Guardian, Trusted Reviews, CreativeBLOQ, and probably quite a few others I’ve forgotten.

