Wide aperture lenses tend to be massive, but Canon RF shooters might be getting a stack of new compact telephoto primes
A new Canon patent has revealed designs for a 130mm, 300mm and 500mm prime lens, along with an 85mm prime, with a compact design
The best camera deals, reviews, product advice, and unmissable photography news, direct to your inbox!
You are now subscribed
Your newsletter sign-up was successful
According to a new patent, Canon may be working on a flurry of new telephoto primes for RF full-frame cameras – all designed to mix a compact design with bright apertures. The telephoto primes in question aren’t existing lenses in the RF ecosystem, meaning that they could still be under development.
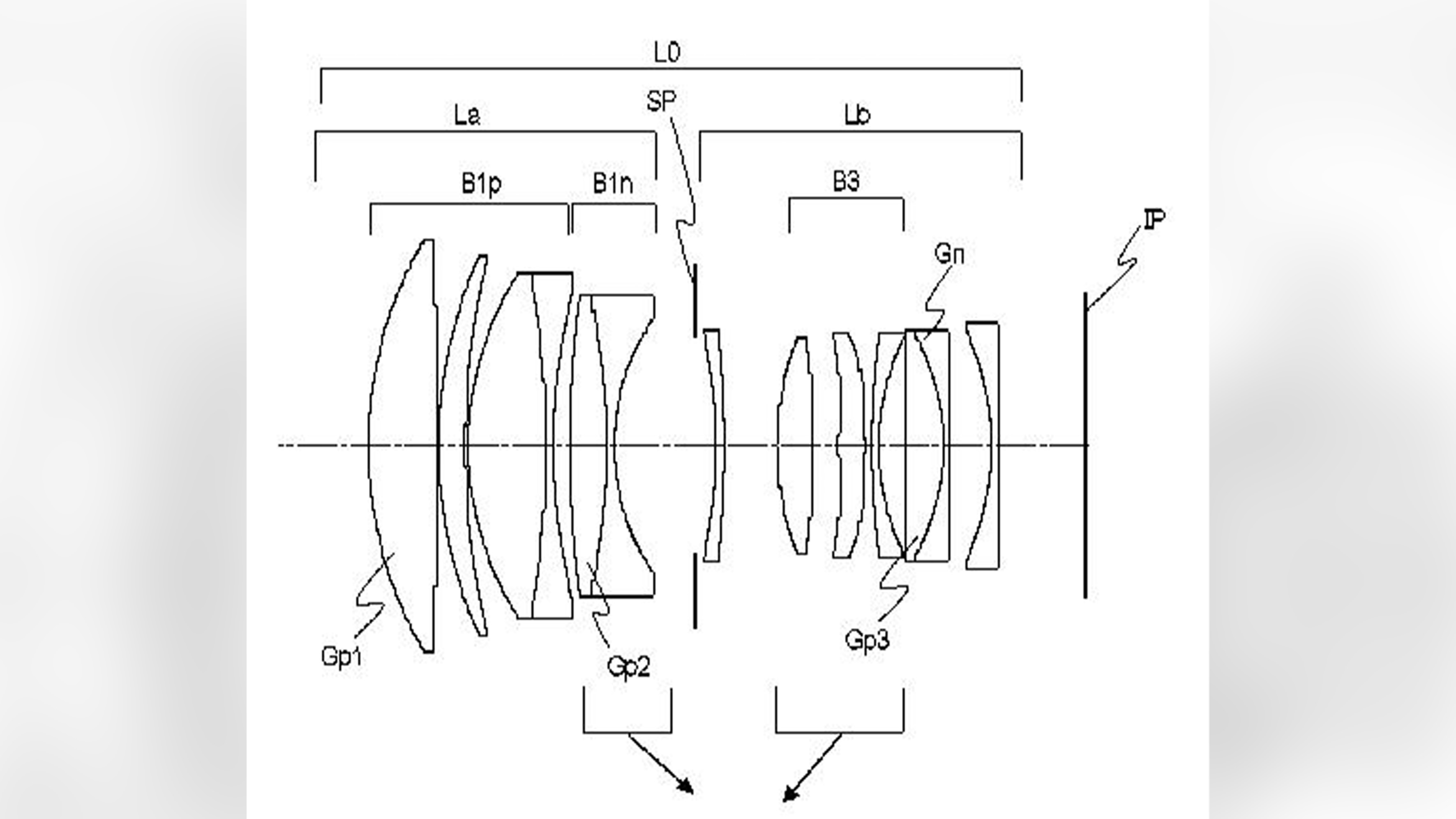
Patent P2026067609 was published on the Japan Patent Office platform on April 21 and contains details of three high-performance telephoto primes: a 130mm f/1.8, 300mm f/2.8, and 500mm f/5.6, along with an 85mm f/1.4. While the designs outlined in the patent don't seem to be fundamentally different to existing Canon lenses, they do look to be optimized for compactness.
Of all the designs outlined in the patent, the 500mm f/5.6 emphasizes this the best. The total lens length is just under 12 inches (296.6mm), meaning it's nearly 40% shorter than the existing RF 600mm f/4 L IS USM, and closer in size to the RF 70-200mm f/2.8 IS USM or the EF 100-400mm f/5.6 IS USM. Going by this, the patented 500mm design could easily be a handheld lens rather than one you’d only want to use with a tripod.
Article continues belowCanon also seems to be switching the optical weight distribution to emphasize very short back focus. By pulling the heavy corrective glass closer to the camera body, the center of gravity is shifted toward the photographer. This makes the lenses feel much lighter during panning, even if the total weight is similar.
Although I hope that these lenses will be released in the near future, for the time being, they remain patents and, as such, there’s always the possibility they never leave the design phase.
Canon tends to rank among the top of the companies filing the most patents each year, so seeing a Canon patent is never a guarantee that the tech is actually coming to store shelves. However, it would be amazing to have fast telephoto primes that easily pass the "backpack test.”
You might also like…
Discover our expert pick of the best Canon cameras and the best canon RF lenses to complete your mirrorless setup.
The best camera deals, reviews, product advice, and unmissable photography news, direct to your inbox!

I’m a writer, journalist and photographer who joined Digital Camera World in 2026. I started out in editorial in 2021 and my words have spanned sustainability, careers advice, travel and tourism, and photography – the latter two being my passions.
I first picked up a camera in my early twenties having had an interest in photography from a young age. Since then, I’ve worked on a freelance basis, mostly internationally in the travel and tourism sector. You’ll usually find me out on a hike shooting landscapes and adventure shots in my free time.
You must confirm your public display name before commenting
Please logout and then login again, you will then be prompted to enter your display name.